時間:2020-01-26| 作者:Admin
本實用新型通孔檢測設備,解決了溫控器陶瓷導向架中心孔變形、粉塵、毛刺、堵孔等不良問題,多年來可做到客戶零投訴率。
技術領域:
本實用新型屬于陶瓷產品加工技術領域,具體涉及一種陶瓷產品通孔檢測設備。
現有技術存在以下問題:現在的陶瓷產品往往通過人工進行通孔檢測,進而進行篩分,造成檢測篩分時間長,效率低、成本高、易漏檢。
實用新型內容:
為解決上述背景技術中提出的問題。本實用新型提供了一種陶瓷產品通孔檢測設備,具有檢測快速,篩分便攜,自動化程度高,分辨率高,無漏檢等的特點。
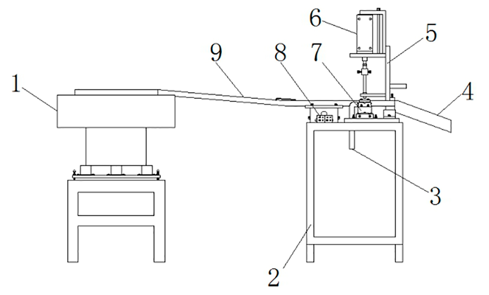
為實現上述目的,本實用新型提供如下技術方案:一種陶瓷產品通孔檢測剔除設備,包括送料機、支架、合格品出口、次品出口、檢測組件、篩分組件、控制座和輸送帶,所述支架的一側設置有送料機,所述支架的上端中間位置設置有篩分組件,所述篩分組件靠近送料機的一側設置有控制座,所述篩分組件的另一側設置有安裝架,所述安裝架的上端安裝有檢測組件,所述安裝架遠離篩分組件的側邊安裝有次品出口,所述篩分組件遠離安裝架的側邊安裝有合格品出口,所述送料機與支架的檢測臺之間連接有輸送帶;
所述固定塊通過螺栓與支架的上端固定連接。
所述輸送帶的表面安裝有噴氣氣嘴。
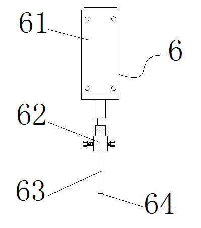
所述安裝架的上端設置有用于調節和固定是三氣缸的調節栓。
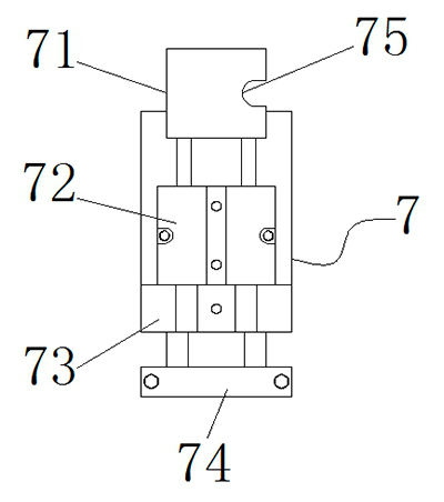
所述安裝架的下端設置有與篩分組件相對應的限位板,所述限位板中間設置有與連接桿相匹配的限位孔。
與現有技術相比,本實用新型的有益效果是:
1、本實用新型通過送料機通過輸送帶送到檢測組件下端,陶瓷產品會被氣嘴吹進物料卡槽中,然后是三氣缸工作使下端的檢測探頭下降,近距離檢測陶瓷產品通孔品質,然后對比辨別是合格產品還是殘次品。
2、本實用新型檢測完產品后,合格產品時,控制是二氣缸運行,使上端的固定板向一端移動,這樣物料卡槽內的合格陶瓷產品推送進合格品出口下端的收集箱,次品時,控制為一氣缸運行,使上端的固定板向另一端移動,這樣物料卡槽內的殘次陶瓷產品推送收進次品出口下端的收集箱,自動篩分,避免是人工麻煩。
圖中:1、送料機;2、支架;3、合格品出口;4、次品出口;5、安裝架;6、檢測組件;61、為三氣缸;62、固定頭;63、連接桿;64、檢測探頭;7、篩分組件;71、固定板;72、為一氣缸;73、為二氣缸;74、固定塊;75、物料卡槽;8、控制座;9、輸送帶。


